新闻中心

金诺公司再获一项国家发明专利授权

发布日期:2022-06-21 09:19:00     来源:ok138cn太阳集团古天乐


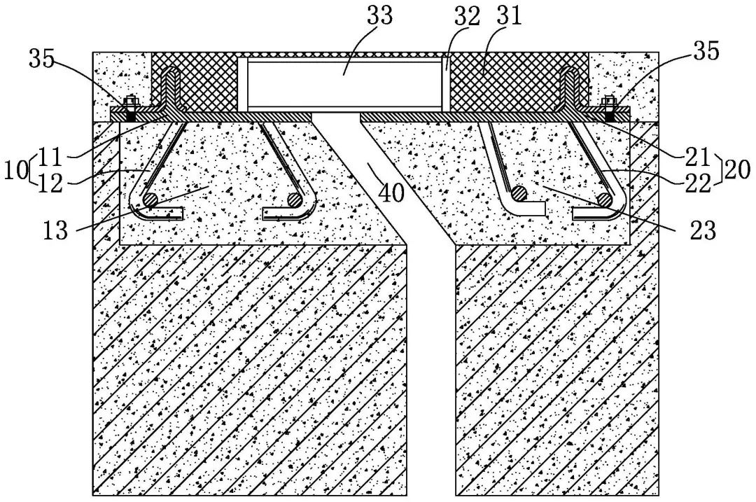
  近日,由济南金诺公路工程监理有限公司组织研发的“无缝式桥面伸缩缝装置及其施工方法”研究成果正式获得国家发明专利授权(专利号:ZL 202110435331.8),这是继金诺公司被认定为高新技术企业、市级“专精特新”中小企业、山东省科技型中小企业、山东省“专精特新”中小企业之后取得的又一重量级科研成果。
  
  
  
  
  
  本发明专利用于解决现有的伸缩缝装置结构复杂、刚性不足、柔性不足等问题。该装置安装在两个桥面之间,包括安装一部、安装二部和设置在两部之间的半刚性连接件,半刚性连接件整体为橡胶材质的弹性体,在该弹性体内部设置有若干沿顺桥向设置的空腔,且在该空腔内设置非粘合的抗弯部件,且抗弯部件在该空腔内具有滑动空间;该抗弯部件在伸缩方向和长度方向上具有足够高的刚度,使得车辆通过该弹性体时具有极高的抗压刚度。该装置可以全面覆盖伸缩缝位置,具有使用寿命长、免清洁、免维护的特点。
  
  该项发明专利的授权,进一步坚定了金诺公司持续走创新驱动之路,进一步坚定了创建“平安百年品质工程”的信心。下一步,金诺公司将继续依托企业科协和山东绿色道路技术与材料研究中心,持续加大创新投入,加强科研人员的培养与储备,发挥企业科协三大研究中心和各专业委员会优势,继续积极探索行业前沿领域,加强科技创新,提高创新管理水平,提升公司核心竞争力,推动公司高质量快速发展。